摘要
本发明提供的一种风冷式太阳能海水淡化装置,将冷凝面设置在加热面蒸发面上方,海水蒸发冷凝过程成为自发过程。利用烟囱效应解决蒸汽冷凝问题。风冷技术措施加速海水蒸发冷凝。海水管将海水从装置外输运到光热转换单元。光热转换单元将太阳能转换成热能并产生蒸汽。蒸汽管将蒸汽从光热转换单元输运到冷凝器冷凝管冷凝。淡水积存在冷凝器内,热量散发到大气中。浓海水管将浓海水从光热转换单元输运到装置外。一根蒸汽管连通的光热转换单元构成一个模块。模块大小和数量决定装置规模。能满足各种规模的需求。
技术领域
本发明涉及一种海水淡化装置,具体为一种风冷式太阳能海水淡化装置。
背景技术
美国《能源与动力工程》刊载的《被动式太阳能海水淡化技术路线解析》一文通过对盘式太阳能海水淡化技术和太阳能界面蒸发技术加热面蒸发面冷凝面设置的技术特征分析,将加热面蒸发面冷凝面自上而下设置的技术特征定义为顶置加热面太阳能蒸发技术。顶置加热面太阳能蒸发技术的目标是更好地解决光热转换问题海水蒸发问题和蒸汽冷凝问题。这三个问题是太阳能海水淡化必须解决的问题。中国发明专利202010782088.2妥善解决了光热转换问题和海水蒸发问题,蒸汽冷凝问题没有解决好。中国发明专利202310695302.4整合顶置加热面太阳能海水淡化技术和新型热法海水淡化技术,不仅妥善解决了光热转换问题海水蒸发问题蒸汽冷凝问题,还充分利用蒸汽冷凝热淡化海水,是高效利用太阳能的海水淡化技术,是大型太阳能海水淡化项目首选技术。光热转换单元内减压蒸发和所有光热转换单元产生的蒸汽集中冷凝两项技术措施完美解决了太阳能海水淡化必须解决的三个问题。但是,这种水冷方式回收利用冷凝热的设备成本高,适用范围受限。将水冷方式改为风冷方式,虽然冷凝热不能回收利用,降低了淡水产量,但设备成本降低,操作使用简便,适用范围扩大。风冷技术方案是采用简单设备达到在光热转换单元内形成负压蒸发和蒸汽集中风冷成淡水的目标。蒸汽自发上行是自然规律。顶置加热面太阳能蒸发技术将冷凝面设置在下方,蒸汽强制下行必然有阻力。从而导致蒸汽下行和冷凝效果不佳。实行风冷,将冷凝面设置在加热面蒸发面上方,顺应自然规律,必然收到蒸汽冷凝海水蒸发加速和太阳能利用率提高的效果。合理利用烟囱效应可以使上述构想得以实现。冷凝面的位置高于加热面和蒸发面,蒸汽会自发从蒸发面流向冷凝面。冷却冷凝面的空气吸热自发向上流动,也加快蒸汽冷凝和流动速度。
发明内容
本发明的目的是将冷凝面设置在加热面蒸发面上方,利用烟囱效应加速蒸汽和空气流动,开发一套风冷式太阳能海水淡化装置。
为了实现上述目的,本发明的方案是:其结构包括冷凝器、冷凝管、风罩、风机、淡水阀、海水管、海水阀、浓海水管、浓海水阀、光热转换单元、蒸汽管。其特征在于:所述蒸汽管一端连通在同一水平面串联或并联的多个光热转换单元。蒸汽管另一端连通冷凝器。海水管一端连通全部光热转换单元内的海水罐。海水管另一端连通海水阀出口。海水阀进口通装置外。浓海水管一端连通全部光热转换单元内的海水罐。浓海水管另一端连通浓海水阀进口。浓海水阀出口通向装置外。冷凝器顶面连通全部冷凝管下端口。全部冷凝管上端口连通大气。全部冷凝管都位于光热转换单元上方。全部冷凝管都置于风罩内。风罩下端设空气进口。风罩上端安装风机。淡水阀安装在冷凝器底部。
所述冷凝器是圆形或方形封闭容器。
所述冷凝器连通多根蒸汽管。每根蒸汽管连通的光热转换单元在同一水平面构成一个模块。各模块可以不在同一水平面。全部模块都在冷凝管下方。
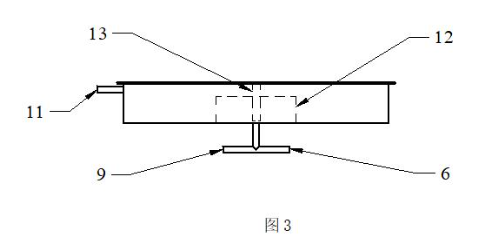
所述光热转换单元是顶面为光热板的蒸发室内有至少一个海水罐。光热板下面的吸水材料下垂到海水罐底部。蒸汽管在蒸发室侧面上部连通光热转换单元蒸发室。海水管和浓海水管穿过蒸发室底面连通海水罐。图3是蒸发室内有一个海水罐的光热转换单元。海水罐12置于蒸发室中央底面上。吸水材料13从光热板下垂到海水罐12底部。蒸汽管11在蒸发室侧面上部连通光热转换单元蒸发室。
所述光热转换单元侧面和底面包裹绝热材料,光热板正上方安装透光材料。
所述冷凝管内填充导热材料丝。
所述风罩与冷凝管之间填充导热材料丝。
本发明的优点在于:一是冷凝管内表面作为冷凝面,置于加热面蒸发面上方,蒸汽自发上行并在冷凝管内冷凝成淡水流回冷凝器,吸水材料表面作为蒸发面,会不断蒸发出蒸汽,上述蒸发冷凝过程是自发过程;二是冷凝管与风罩之间形成空气上行通道,空气从下向上自发流动,风机运行,加速空气流动,相应加速蒸发冷凝过程;三是风机运行,抽出蒸发室空气,蒸发室压力降低,能增加海水蒸发量,降低蒸发温度,提高太阳能利用率;四是模块化设计,能满足各种规模的需求;五是设备结构简单,材料资源丰富。
附图说明
下面结合附图与实施例对本发明作进一步说明:
图1是本发明结构俯视图;
图2是本发明结构主视图;
图3是本发明光热转换单元结构图。
图中,1、冷凝器,2、风罩,3、冷凝管,4、淡水阀,5、风机, 6、海水管,7、海水阀,8、浓海水阀,9、浓海水管,10、光热转换单元,11、蒸汽管,12、海水罐,13、吸水材料。
具体实施方式
实施例是一套一根蒸汽管11连通10个光热转换单元10与冷凝器1的风冷式太阳能海水淡化装置。只有一个模块。所有光热转换单元10在同一水平面。冷凝器1上面连通多根冷凝管3。冷凝管3内填充不锈钢丝。所有冷凝管3都置于风罩2内。风罩2下端有空气进口。冷凝管3与风罩2之间填充不锈钢丝。风机5安装在风罩2上端。冷凝管3和风罩2置于光热转换单元10上方。海水管6连通全部光热转换单元10内的海水罐与海水阀7出口。浓海水管9连通全部光热转换单元10内的海水罐与浓海水阀8进口。淡水阀4安装在冷凝器1侧面底部。图1是这套装置俯视图。图2是这套装置主视图。图3是光热转换单元结构图。光热转换单元10底面和侧面包裹绝热材料聚氨酯作保温层。光热转换单元10顶面以上安玻璃透光隔热。
本实施例的工作过程是:将装置水平安装。海水阀7进口连通海水供给管。日出前关闭淡水阀4,关闭浓海水阀8,打开海水阀7向装置供给海水。按确定的浓缩比注入海水量,关闭海水阀7。海水经海水管6流入海水罐12。吸水材料13将海水吸到光热板下面。日出后太阳光在光热板上面转换成热量加热光热板下面的海水产生蒸汽。蒸汽进入蒸汽管11流向冷凝器1。然后在冷凝管3内冷凝成水流回冷凝器1。启动风机5,加速蒸发冷凝过程。日落后打开浓海水阀8放出浓海水。打开淡水阀4放出淡水。次日重复上述操作。



